浙江省环境科技股份有限公司【官网】

环境科技,浙江省环境科技股份有限公司,浙江省环境科技,浙江环境科技,环境科技公司

浙江省环境科技股份有限公司【官网】

项目公示

PROJECT PUBLIC

龙游特种纸产业规划环评第一次公示

发布时间:2021-12-22

龙游县特种纸产业发展规划(修编)环境影响报告书第一次公示

为了更好地实现转型升级与产业链延伸,有效整合龙游经济开发区的空间资源、土地资源、基础设施配套资源以及人力资源,大力引导和鼓励开发区外的造纸企业向区内集聚,龙游县人民政府编制了龙游县特种纸产业发展规划(修编)。根据《环境影响评价法》、《规划环境影响评价条例》的要求,应对规划开展环境影响评价,因此业主委托浙江省环境科技有限公司开展规划环境影响评价,编制《龙游县特种纸产业发展规划(修编)环境影响报告书》,兹将有关事宜公示如下:

一、规划概况

龙游县历来是浙江省乃至全国重要的纸产地之一,一直以来造纸业兴盛不衰。改革开放以来,龙游县造纸产量持续增长,种类不断丰富,在国内特种纸生产领域占据重要地位。目前,龙游特种纸已经成为全国特种纸产业基地和亚洲最大的装饰原纸生产基地,先后被命名全国首个“中国特种纸产业基地”、“浙江省特种纸产业基地”、“特种纸省级高新技术特色产业基地”、“龙游县特种纸产业创新服务综合体”等称号。

规划目标:到2025年,力争把龙游县建设成为全国领先的特种纸和循环经济园区。

二、环境影响评价的工作程序和主要工作内容

1、环评工作程序

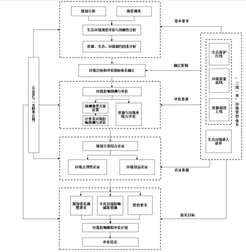
规划环评工作程序详见图1。

2、主要工作内容

通过对规划内容的分析,收集与规划相关的法律法规、环境政策等,收集上层位规划和规划所在区域战略环评及“三线一单”成果,对规划区域及可能受影响的区域进行现场踏勘,收集相关基础数据资料,初步调查环境敏感区情况,识别规划实施的主要环境影响,分析提出规划实施的资源、生态、环境制约因素,反馈给规划编制机关。在规划方案编制阶段,完成现状调查与评价,提出环境影响评价指标体系,分析、预测和评价拟定规划方案实施的资源、生态、环境影响,并将评价结果和结论反馈给规划编制机关,作为方案比选和优化的参考和依据。

1640573617(1).png 

图 1  规划环评主要工作程序

三、公众提出意见的主要方式

本次公示以编制单位网站公示结合规划范围及周边村庄、社区公示栏张贴公告方式进行。公众可在公示后10个工作日内通过向业主单位、规划环评编制单位及审批部门的指定地址发送信函、电话、电子邮件等方式,发表对本次规划及环评工作的相关意见、看法。

规划环评编制单位将在环境影响报告书中真实记录公众的意见和建议,并将公众的宝贵意见、建议向相关单位和部门反映。注:请公众在发表意见的同时留下联系方式(姓名、地址、电话或邮箱),以便及时答复反馈。

四、联系方式及公示时间

1、业主单位

单位名称:浙江新北园区开发集团有限公司

单位地址:浙江省衢州市龙游县模环乡金星大道2号315办公室

联系人:姜林芳             联系电话:0570-2766577

2、规划环评编制单位

单位名称:浙江省环境科技有限公司

单位地址:杭州市余杭区未来科技城联创街199号

联系人:李  工             联系电话:0571-87983192 

3、审查主管部门

单位名称:衢州市生态环境局龙游分局

单位地址:龙游县龙洲街道鹏程路18号(龙游县行政服务中心环保审批服务窗口)

联系电话:0570-7261937

公示时间:2021年12月23日~2022年1月6日,共10个工作日

公告发布单位:浙江龙游经济开发区管理委员会

公告发布时间:2021年12月22日